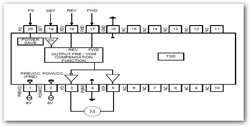
pin assignment

AM2182 AM2182

Features

1) A power saving mode is enabled (PS=”L”) by power-save terminal.
2) Small surface mounting power package (ETSSOP20)
3) Separating Vcc into Pre and Pow, can make better power efficiency
4) Thermal-shut-down circuit built in
5) Motor driver:
a. The output voltage is adjustable by output voltage control terminal. (Only “H” side voltage)
b. Brake circuit built in
c. Circuit protection diode built in.
d. Vom compensation function

Description

The AM2182 is a Reversible motor driver of higher Vom driver capability and Vom compensation function. Package material is Pb Free for purpose of environmental protection.
 
Applications
Audio-visual equipment, PC peripherals, Car audios, Car navigation system, OA equipment.

Data Sheet

AM2182_V1.1.pdf
TEL:+886-2-2999 8989
FAX:+886-2-2999 9966
E-Mail:pd2@amtek-semi.com